Part Number Hot Search : 
56CDE DEVICE 2940T TK10A FX009ALS NKR141 VCO190 U840B
Product Description
Full Text Search

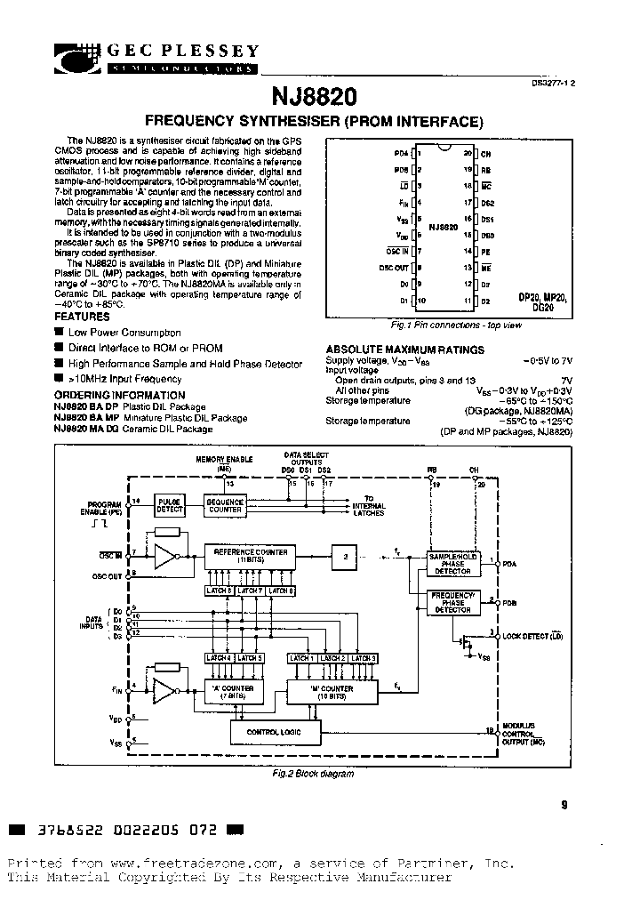
NJ8820 - From old datasheet system

NJ8820_329678.PDF Datasheet

 
Part No. NJ8820
Description From old datasheet system

File Size 213.51K  /  5 Page  

Maker

N/A



JITONG TECHNOLOGY
(CHINA HK & SZ)
Datasheet.hk's Sponsor

Part: NJ8820MA
Maker: GPS
Pack: CDIP
Stock: 183
Unit price for :
    50: $20.68
  100: $19.64
1000: $18.61

Email: oulindz@gmail.com

Contact us

Homepage
Download [ ]
[ NJ8820 Datasheet PDF Downlaod from Datasheet.HK ]
[NJ8820 Datasheet PDF Downlaod from Maxim4U.com ] :-)


[ View it Online ]   [ Search more for NJ8820 ]

[ Price & Availability of NJ8820 by FindChips.com ]

 Full text search : From old datasheet system
 Product Description search : From old datasheet system


 Related Part Number
PART Description Maker
MT9M112 From old datasheet system
1/4-Inch, 1.3 Megapixel CMOS Image Sensor System-on-Chip
MICRON[Micron Technology]
M51307BSP M51307BE From old datasheet system
NTSC SYSTEM SINGLE-CHIP COLOR TV SIGNAL PROCESSOR
Mitsubishi Electric Semiconductor
W48S111 W48S111-14 S111-14 From old datasheet system
Spread Spectrum Desktop/Notebook System Frequency Generator
CYPRESS[Cypress Semiconductor]
TC9321F-006 EE08716 SINGLE CHIP DIGITAL TUNING SYSTEM FOR CAR CD 单片数字调谐系统的车CD
From old datasheet system
Toshiba, Corp.
Toshiba Corporation
TOSHIBA[Toshiba Semiconductor]
LTC1289 LTC1289BC LTC1289BCJ LTC1289BCN LTC1289BCS From old datasheet system
3 Volt Single Chip 12-Bit Data Acquisition System
LINER[Linear Technology]
IPM6220 FN4903 Multi-Output System Electronics Regulator for Mobile PCs
From old datasheet system
Intersil
AT90S2313-10SC AT90S2313- AT90S2313-10PC AT90S2313 8-bit Microcontroller with 2K Bytes of In-System Programmable Flash
From old datasheet system
ATMEL[ATMEL Corporation]
W215B Notebook PC System Frequency Generator for K6 Processors(在K6处理器中应用的笔记本PC系统频率发生
From old datasheet system
Cypress Semiconductor Corp.
MC33989NBSP XC33989 MC33989 System Basis Chip With High Speed CAN Transceiver
From old datasheet system
Motorola, Inc
BA3918 A5800865 System Power Supply for Car Stereos(汽车立体声的系统电源)
From old datasheet system
Rohm CO.,LTD.
ROHM[Rohm]
 
 Related keyword From Full Text Search System
NJ8820 for sale NJ8820 Chip NJ8820 Stmicroelectronic NJ8820 outputs NJ8820 control
NJ8820 oscillator NJ8820 gate threshold NJ8820 ic查尋 NJ8820 laser diode NJ8820 complimentary against
 

 

Price & Availability of NJ8820

All Rights Reserved © IC-ON-LINE 2003 - 2022  

[Add Bookmark] [Contact Us] [Link exchange] [Privacy policy]
Mirror Sites :  [www.datasheet.hk]   [www.maxim4u.com]  [www.ic-on-line.cn] [www.ic-on-line.com] [www.ic-on-line.net] [www.alldatasheet.com.cn] [www.gdcy.com]  [www.gdcy.net]


 . . . . .
  We use cookies to deliver the best possible web experience and assist with our advertising efforts. By continuing to use this site, you consent to the use of cookies. For more information on cookies, please take a look at our Privacy Policy. X
2.4581508636475